Rugao Liantuo Electronics poskytuje CRT diodu. Pro pracovní CRT diodu. Může být použit v rentgenových přístrojích, vysokonapěťových zdrojích atd.
Vlastnosti CRT diody:
1. Má vlastnosti nízkého svodového proudu, odolnost proti nárazu, ochranu před lavinou;
2. Vysokonapěťový a rychlý usměrňovač;
3. zaručeno pájení při vysoké teplotě;
4. malý objem, snadná instalace, vhodné pro automatickou výrobu.
2CL71SH,2CL73SH,2CL71ASH,2CL73ASH
Elektrické vlastnosti (Tamb=25 oC, pokud není uvedeno jinak)
| Modelka | Hodnocení | Teplotní stav | VFM (V) |
IR1 (μA) [VR=VRRM] |
Trr (μS) [IF=2mA, IRM=4mA] |
Rozměr obrysu | |||
| VRRM(KV) | IF(AV) (mA) | IFSM (A) | Tj ( stupeň ) | Tstg ( stupeň ) | Průměr trubky*délka trubky*Průměr olověného drátu(mm) | ||||
| 2CL71SH | 8 | 5 | 0.5 | 120 | -40~ plus 120 | 30 | 2 | 0.1 | ¢3*8*¢0.6 |
| 2CL73SH | 12 | 40 | ¢3*10*¢0.6 | ||||||
| 2CL71ASH | 8 | 30 | ¢2.5*6.5*¢0.5 | ||||||
| 2CL73ASH | 12 | 40 | ¢2.5*10*¢0.5 | ||||||
Test spolehlivosti
|
NE. |
Položka |
Hodnocení |
Podmínky |
|
1 |
Vysokoteplotní test zpětného napětí |
1000 hodin |
Poloviční sinusové napětí s aplikovaným f=50Hz, Tamb=100 stupeň |
|
2 |
Test skladování při vysoké teplotě |
1000 hodin |
Tamb=130±2 stupně (ve vzduchu) |
|
3 |
Změna teploty spusťte test vlhkého tepla CyclicTest |
pěti cyklů
dvou cyklů
|
[-40 stupeň (30 min) →RT(3min) → plus 130 stupňů (30min) →RT(3min)] ×5
[25 stupňů ↗55 stupňů ,98 procent RH, (3h)→55 stupňů ,98 procent RH↘93 procent RH, (10 min)→55 stupňů ,93 procent RH, (8h 40min)→55 stupňů ,93 procent RH↗98 procent RH,(10min)→55 stupňů ↘25 stupňů 98 procent RH,(3h)→25 stupňů, 98 procent RH ,(9h)] ×2 |
|
4 |
Odolnost proti pájení Tepelný test |
1 krát |
Teplota pájecího žlabu: 350 stupňů ±10 stupňů Doba ponoru:3,5s±0,5s |
|
5 |
Vysokotlaký kouřový test |
deset hodin |
121 stupňů, 2×105pa |
|
6 |
Test ohybu olova |
1 krát |
Silou 10N na vedení, ohýbejte jej do kladných a záporných 90 stupňů |
|
7 |
Test tahu olova |
1 krát |
Silou 70 N axiálně na vedení po dobu jedné minuty, |
|
8 |
Pádový test |
10 krát |
Přirozený pád z výšky 1 m na javorovou desku |
Kritérium:
(1)Č. položky.1-5 Výrobek musí splňovat elektrické specifikace poté, co byl vystaven normální teplotě po dobu dvou hodin po dokončení testu.
(2) Č. položky.6-8 Při testování nesmí dojít k žádnému poškození a elektrické charakteristiky musí být splněny.
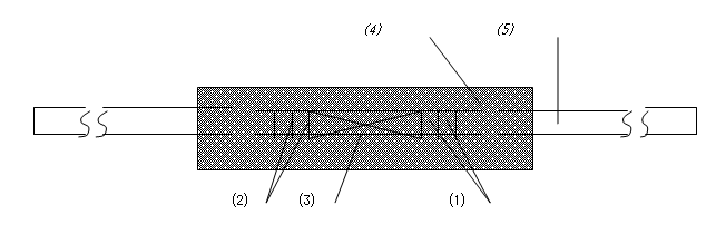
Rozměry a značení
Vnitřní konstrukce a materiály
|
NE |
Název dílu |
Název materiálu a typu |
Poznámka |
|
⑴ |
Diodový čip |
Silikon typu N |
Typ Mesa |
|
⑵ |
Kontaktní materiály |
Pb-Sn pájka |
|
|
⑶ |
Povrchová pasivace |
Nátěrová pryskyřice JRC |
Pevný typ |
|
⑷ |
Formovací materiál |
Epoxidová pryskyřice (UL 94V-0) |
|
|
⑸ |
Olověný drát |
Pocínovaný Cu drát |
Vývojový diagram produktu
Autentizační certifikát
FAQ
Q1: Odebírám vzorky pro hodnocení?
Odpověď: Samozřejmě můžeme zdarma poskytnout určitý počet vzorků k testování a kontrole kvality.
Q2: Jak dlouho je vaše dodací lhůta?
Odpověď: U obecných diod máme zásoby na našem skladě a můžeme je dodat do 3 dnů, u ostatních to bude trvat 15-20dny po obdržení vašich formálních objednávek.
Q3: Existuje nějaký limit MOQ, pokud vám objednáme?
Odpověď: Obvykle by množství vaší objednávky mělo splňovat naše minimální množství balení, ale pokud toho tolik nepotřebujete, můžeme se domluvit.
Q4: Můžete vyrábět přizpůsobené produkty nebo přijímat objednávky OEM?
A: Ano. můžeme vyrobit přizpůsobené produkty podle speciálních požadavků zákazníka. Vítáme také objednávky OEM. máme zkušené inženýry, kteří poskytují technickou podporu včetně návrhu, provozu, seřízení a analýzy poruch.
Q5: Splňují vaše produkty směrnici RoHS?
Odpověď: Ano, všechny naše produkty splňují nařízení RoHS a REACH.
Q6: Jak objednat?
Odpověď: Dejte mi vědět modely, balení, množství, které chcete objednat. Na základě vaší objednávky vám pro informaci zašleme Proforma e-mailem.
Q7: Jak řešíte nároky zákazníků?
Odpověď: Odpovíme do 24 hodin po obdržení nároků zákazníka. Pokud jsou produkty vadné, požádáme o podrobnosti o selhání a umístění aplikace nebo požádáme o vrácení vzorků k analýze a poskytneme 8d zprávu do 7 dnů.
Q8: Jaký druh dopravy se obvykle používá?
Odpověď: Můžeme dodávat produkty do celého světa. K dispozici jsou DHL, TNT, UPS, EMS, China Post. Na webových stránkách můžete sledovat stav vašeho produktu po jeho odeslání.
Výrobní zařízení
Populární Tagy: crt dioda









